柴油發電機組單程式調速器工作原理及其構造
柴油發電機組中有一個單程式調速器,相信許多人并不知道它是用來做什么的,下面就簡單的介紹下單程式調速器的工作原理。柴油發電機組機械式調速器分為單程式調速器,兩極式調速器全程式調速器。
機械式調速器工作原理是調速器要能根據外界負荷的變化,靈敏地調節供油量,以保持轉速的穩定。它必須具備兩個基本部分:感應元件與執行機構。感應元件用于感應外界負荷的變化。當柴油機的外界負荷變化時,由于供油量與負荷不相適應,首先引起轉速的變化。負荷增加時會使轉速下降,負荷減小則轉速上升。因此感應元件必須能靈敏地感受到轉速的波動,并及時將感受到的信號傳遞給執行機構。
執行機構用于根據感應元件傳遞的信號相應地調節供油量。當柴油機負荷增大而轉速降低時,執行機構應使供油量增加,以使轉速回升到初始轉速。當負荷減小而轉速升高時,則執行機構應減小供油量,以使轉速下降到初始轉速。
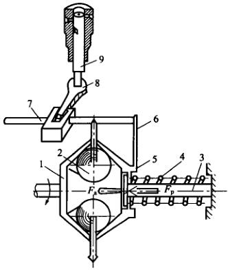
單程式調速器工作原理圖
    
1-傳動盤 2-飛球 3-支承軸 4-調速彈簧 5-推力盤 6-傳動板 7-供油拉桿 8-調節臂 9-柱塞
傳動盤由柴油機曲軸帶動旋轉。在傳動盤與推力盤5之間布置了一排飛球。飛球在傳動盤的帶動下隨著一起旋轉。飛球由于受到離心力的作用而向外飛開。傳動盤的軸向位置是一定的,而推力盤則滑套在支承軸3上,可以沿軸向滑動。調速彈簧4以一定的預緊力壓在推力盤上。推力盤上固定有傳動板傳動板則和供油拉桿相連。當推力盤移動時,即通過傳動板和供油拉桿使柱塞轉動,以改變供油量。傳動板向右移時,供油量減少。
上述調速器的感應元件為飛球,執行機構為推力盤及傳動板等。當外界負荷變化引起轉速變化時,飛球的離心力隨即改變。因離力與轉速的平方成正比,故飛球能較靈敏地感應轉速的變化。飛球的離心力作用到推力盤上,并產生軸向分力Fa,迫使推力盤向右移動由于推力盤右側作用有調速彈簧的彈力,因此推力盤的位置取決于兩力是否平衡調速器的工作過程如下。
當柴油機工作時,傳動盤和飛球即被曲軸驅動旋轉。如飛球所產生的軸向力F小于調速彈簧彈力Fp時,推力盤仍處于最左端的位置。這時調速器尚未起調節作用。當曲軸轉速升高到使力F與F相等時,此時曲軸轉速為調速器開始起作用的轉速。顯然,調速彈簧的預緊力F越大,起作用的轉速越高;反之則低。
若柴油機在調速器起作用轉速(Fa=Fp)下工作時,外界負荷減小,曲軸轉速將上升,飛球作用到推力盤上的軸向分力將增大(Fa>Fp),推動推力盤右移并壓縮調速彈簧。而傳動板則使供油拉桿向供油量減小的方向移動,使轉速降低,F減小,以適應外界負荷的變化。調速彈簧在被壓縮的同時彈力Fp也不斷增加,因此推力盤將在Fa=Fp時達到新的穩定,而供油量也與減小的負荷相對應。如外界負荷繼續減小,轉速則不斷上升,飛球將使推力盤和傳動板將供油拉桿再向右移,當外界負荷為零時,調速器將供油拉桿移至最小供油量位置,柴油機處于最高空轉轉速下工作。
綜上所述,機械單程式調速器的工作原理可歸納為以下三點:
1.感應元件通過離心力來感應柴油機轉速的變化。當負荷減小、轉速增高時,其離心力增大,借助離心力的軸向分力推動供油拉桿減小供油量。當負荷增大、轉速降低時,其離心力減小,調速彈簧將推動供油拉桿增加供油量。
2.調速器起作用的轉速由調速彈簧的彈力所決定。
3.調速器并非使發動機的轉速始終保持不變,而是使發動機的轉速隨負荷變化的波動被控制在允許的范圍內。
機械調速器的工作能力較小,其靈敏度和精度均較差,但其結構簡單,維護方便。多用于中、小型柴油機。廣西頂博電力設備制造有限公司柴油發電機組廣泛應用于房地產、超市、醫院、學校等公共場合的備用應急電源及常用電源。正品保證,質量過關,咨詢柴油發電機組電話:13667715899
 報價:13667715899
	報價:13667715899	 
      推薦文章
- 頂博發電機組全覆蓋:從醫院到野外施工,頂博發電機組成為各行業首選備用電源設備! 2025-10-31
- 家用/工業全搞定!全球大牌發電機組任選,3分鐘匹配你的用電方案! 2025-10-31
- 價格與價值的抉擇:為什么說頂博發電機組是性價比最優選? 2025-10-30
- 醫院重癥監護的“生命線”:頂博智能發電機組自動切換保障24小時穩定供電 2025-10-28
- 選購發電機組,請認準頂博,備用電源的“終極方案”! 2025-10-24
- 發電機組也支持遠程遙控?智能時代的產品就是強! 2025-10-23
- 頂博智能發電機組:讓電力管理邁入"云時代"的智慧之選 2025-10-22
- 選購發電機組,就選頂博智能發電機組!為什么?就因為它夠智能 2025-10-22
- 預算有限怎么選智能柴油發電機組?頂博這三款超高性價比機組最適合你 2025-10-21
- 買發電機追求智能化?頂博這三款柴油發電機組性價比超高! 2025-10-20
 
      




 桂公網安備45010702002247
 桂公網安備45010702002247