柴油發電機組兩極式調速器全程式調速器工作原理及其構造
上周,頂博電力跟大家一起學了《柴油發電機組單程式調速器工作原理及其構造》,今天主要學習柴油發電機組另外兩種調速器(兩極式調速器全程式調速器)的工作原理。兩極式調速器與單程式調速器的主要不同點是:調速彈簧由兩根(或兩組)彈簧所組成,低速彈簧較長但剛性較弱,高速彈簧較短但剛性強,兩彈簧都有一定的預緊力。兩極式調速器按調速器起作用的轉速范圍不同,又可分為兩極式調速器和全程式調速器。
如下圖所示為一種兩極式調速器的工作原理圖。這種調速器可在兩種轉速(低速和標定轉速)下起作用。其主要特點是調速彈簧由兩根組成,外調速彈簧較長,但其剛性較弱;內調速彈簧較短,但剛性強。外彈簧的預緊力小而內彈簧的預緊力大。在未工作時兩彈簧之間保持一定距離。此外,供油拉桿既可由調速器操縱,又可由操作者直接控制。
兩極式調速器工作原理圖
1-傳動盤;2-飛球;3-推力盤;4-外調速彈簧;5-內彈簧;6-內調速彈簧;7-支承桿;8-供油拉桿
兩極式調速器的工作情況如下:當柴油機未工作時,外調速彈簧4將供油拉桿8推向供油量最大的位置。當柴油機啟動后,轉速上升,因外彈簧預緊力小且剛性弱,飛球即可推動供油拉桿向減小供油量的方向移動。當轉速升至某一定轉速nd時,推力盤與內彈簧座5相接觸。這時,由于內彈簧預緊力大而剛性強,因此即使轉速繼續升高,飛球的離心力仍不足以推動內彈簀座移動。但此時如由于外界負荷變化使轉速低于ns時,外調速彈簧即可推動供油拉桿左移增加供油量,以保持柴油機可在nd轉速下穩定工作。nd即為最低空轉轉速。當柴油機轉速升至標定轉速時,飛球離心力顯著升高,其軸向分力與內、外彈簧彈力相平衡。如果這時轉速稍許上升,推力盤即推壓內、外彈簧,使供油量減少,其工作情況與前述單程式調速器相同。在轉速nd與標定轉速之間,調速器不起作用,由操作者根據需要調節供油量以實現柴油機轉速的基本穩定。
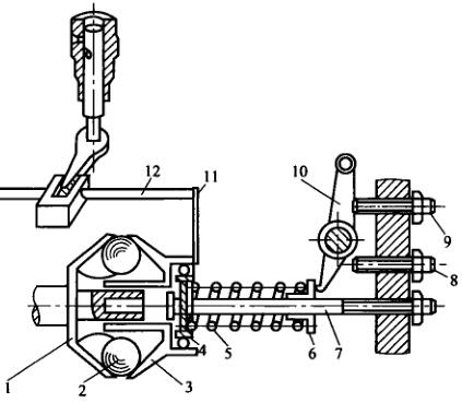
下圖為一種全程式調速器的工作原理圖,其特點是調速彈簧的彈力可以由操作者在一定范圍內加以調節。因此,調速器起作用的轉速也相應地在一定范圍內變化。

全程式調速器作用原理圖
1-傳動盤;2-飛球;3-推力盤;4-彈簀座;5-調速彈簧;6-調速彈簀滑座;7-支承軸;8-息速限位螺釘;9-最高轉速限位螺釘;10-操縱臂;11-傳動板;12-供油拉桿
由操作者操縱的操縱臂10的下端與調速彈簧滑座6相接觸。當操縱臂順時針擺動時,調速彈簧被壓緊,彈力增大,使調速器起作用的轉速增高。當操縱臂與最高轉速限位螺釘9相碰時,起作用的轉速達到最大,通常該轉速為標定轉速。如將螺釘9向外退出,則起作用的轉速升高,擰入則降低。
如將操縱臂反時針擺動,則調速彈簀放松,起作用轉速降低。當操縱臂下端與怠速限位螺釘相碰時,調速器則在最低空轉轉速下起作用,以保持怠速工作穩定。由以上分析可見,裝有全程式調速器的柴油發動機,操作者通過扳動操縱臂,改變調速彈簀的彈力,來達到改變柴油發動機工作轉速的目的,而柴油機的供油量則由調速器根據外界負荷的變化自動地進行調節。這就大大減輕了操作者在負荷變化頻繁時的緊張勞動,同時也提高了工作效率。
全程式調速器也可采用兩根或多根調速彈簧。通常外彈簧較弱,且有預緊力;內彈簧則較強,呈自由狀態(這是與兩極式調速器的不同之處)。柴油發動機在低轉速工作時,外彈簧起作用。隨著轉速的升高,內彈簧也開始工作,以適應不同轉速范圍內調速器性能對彈簧剛性的不同要求。
廣西頂博電力主營的柴油發電機組有康明斯發電機,帕金斯發電機,玉柴發電機,沃爾沃發電機等進口發電機,國產發電機以及中外合資品牌發電機,歡迎來電咨詢:13667715899
報價:13667715899
推薦文章
- 解密數據中心、醫院、工廠都在搶的500KW玉柴柴油發電機組:憑啥一臺機器全能通吃? 2026-04-17
- 廣西頂博亮相2026年第139屆中國進出口商品交易會(廣交會),以創新科技閃耀國際舞臺 2026-04-16
- 廣西頂博精彩亮相第139屆中國進出口商品交易會(廣交會) 以硬核電力科技對接全球需求 2026-04-16
- 行業首創1000L可拆卸底座油箱,這臺400KW上柴發電機組,歐洲技術,重卡級心臟,供電能力太穩了 2026-04-15
- 可拆卸油箱+50Hz/60Hz通吃全球!這臺400KW上柴柴油發電機組,省油、好維護、帶載猛 2026-04-15
- 純銅繞組、H級絕緣、IP23防護:100kw玉柴柴油發電機組,工業用電的務實方案 2026-04-14
- 為關鍵用電場景選購電力設備:為什么數據中心、醫院、工廠的老板都在選這臺康明斯550KW發電機組? 2026-04-13
- 醫院、銀行、數據中心都在用的發電機組:92kW珀金斯靜音發機組硬核配置,從容應對每一次斷電 2026-04-10
- 百年珀金斯6缸心臟,配斯坦福銅芯,這臺92kW珀金斯靜音發電機組,靜音、省油、智能 2026-04-10
- 什么是硬核工業電?直列6缸+空空中冷+斯坦福純銅電機,這一套配置夠用30年——240kW東風康明斯靜音箱式柴油發電機組 2026-04-09






桂公網安備45010702002247