機械式調速器之一的I號噴油泵調速器的構造-廣西柴油發電機組
前面我們介紹了《柴油發電機組I號噴油泵由分泵、油量控制機構、傳動機構和泵體四部分》,推薦大家閱讀,今天頂博電力為大家介紹I號噴油泵調速器的構造。
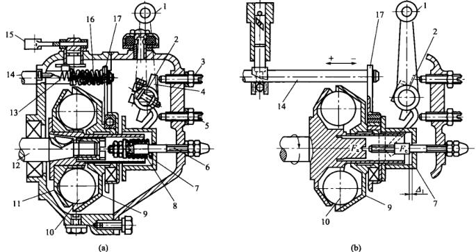
I號噴油泵調速器為機械全程式調速器,其構造如圖所示。I號噴油泵調速器主要由驅動件、飛球、調速彈簧、傳動部分和操縱部分等組成。I號噴油泵調速器的驅動件為具有60°。錐面的驅動盤。在驅動盤的內側有六個沿徑向的半圓形凹槽。驅動盤壓緊在驅動軸套上而與其連成一體,然后通過半圓鍵和鎖緊螺母使其和噴油泵的凸輪軸相連。

I號噴油泵調速器的構造
1-調速手柄 2-調速彈簧 3-高速限位螺釘 4-調速限位塊 5-怠速限位螺釘 6-油量限位螺釘 7-滑套 8-校正彈簧 9-推力盤 10-飛球11-驅動盤 12-凸輪軸 13-啟動彈簧14一拉桿 15-停車手柄 16-停車彈簧 17-傳動板
六個直徑為25.4mm的飛球置于驅動盤的凹槽內,隨驅動盤一起旋轉。飛球另一側為與軸線成45°錐面的推力盤,推力盤滑套在驅動軸套上。工作時飛球的離心力作用在推力盤上,其軸向分力Fa.將使推力盤沿軸向滑動。套裝在推力盤.上的滑動軸承和傳動板也隨之移動。傳動板上端套在供油拉桿上,因此供油拉桿也隨之移動,從而改變供油量。
在調速器縱軸上套有一根扭簧,即調速彈簧。扭簧兩端壓在滑套上,滑套端面則緊靠傳動板,當傳動板向左移動時,需要克服彈簧的壓力。轉動調速手柄即可改變扭簧的壓力,因而改變了調速器起作用的轉速。
在操縱軸上裝有調速限位塊它隨調速手柄一道轉動。順時針轉動調速手柄,使調速限位塊上端與高速限位螺釘相碰時,調速彈簧的預緊力最大,對應于柴油機最高轉速工況(一般即為標定轉速)。反時針轉動調速手柄,使限位塊下端與怠速限位螺釘相碰,調速彈簀的預緊力最小,對應于柴油機的最低轉速工況。
更多柴油發電機組資訊盡在www.nurse-eri.com/,若您在找柴油發電機組廠家可以直接電話聯系我們:13667715899
報價:13667715899
上一篇:
柴油機I號噴油泵調速器的5大工況下一篇:
柴油發電機組燃料系統維護常識
推薦文章
- 靜音、省油、智能!2026年最新款柴油發電機組黑科技盤點 2026-03-03
- 無人值守時代來臨:開春裝一臺帶遠程監控的發電機值不值? 2026-03-02
- 2026開春醫院、機場必備:這一臺發電機組在任何情況下都能“自動啟動” 2026-03-01
- 正月里來搶生產:你的工地/工廠,備好“備用電源”了嗎? 2026-02-28
- 馬年就要“碼”力全開!2026年開春,頂博柴油發電機組,讓你無懼電力危機 2026-02-27
- 別等斷電才后悔!頂博柴油發電機,從5KW到3000KW,10秒極速救場,拒絕停工! 2026-02-27
- 告別“拖拉機”式噪音!2026開春,這些“黑科技”發機組值得看 2026-02-26
- 醫院/數據中心都在用!不斷電、0噪音,關鍵時刻能救命的電站 2026-02-26
- 靜音、集裝箱式還是開架式?2026開春最實用的發電機組選購攻略 2026-02-25
- 開門紅!2026年伊始,作為備用電源設備,哪些柴油發電機組最值得購買? 2026-02-24






桂公網安備45010702002247